Кстати, раз ты уж сам вызвался...
-Скажи плиз - в доме осталось что-нибудь в стоке (не про АС)??? -может чайник..?
А я уже с годик полтора не лазаю никуда с паялом,
Меня все устраивает.
АС не в счет, они пока в процессе.
Отправлено 07 September 2018 - 16:59
Кстати, раз ты уж сам вызвался...
-Скажи плиз - в доме осталось что-нибудь в стоке (не про АС)??? -может чайник..?
А я уже с годик полтора не лазаю никуда с паялом,
Меня все устраивает.
АС не в счет, они пока в процессе.
"Существует две возможности: либо мы одиноки во вселенной, либо нет. Обе одинаково ужасны."
Артур Кларк
Отправлено 07 September 2018 - 17:00

Тут СЧ больше , чем у меня басовик ![]()
"Существует две возможности: либо мы одиноки во вселенной, либо нет. Обе одинаково ужасны."
Артур Кларк
Отправлено 07 September 2018 - 17:03
Так ты мою месагу процитировал.
-а мы в личке..?![]()
Отправлено 07 September 2018 - 17:04
А я уже с годик полтора не лазаю никуда с паялом,
.
-А мне до сих пор твой свисток снится... ![]()
Сообщение отредактировал: neuwey - 08 September 2018 - 09:59
Отправлено 07 September 2018 - 17:05
мы же про полкиВ смысле готовое?
Я макетку запилил, опыты провожу.
Готовый корпус на треху мож и не буду делать, по результату.
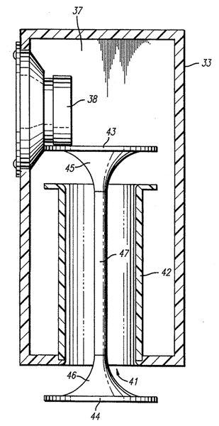
Я не помню, мож навеяло, но в ФИ поток идет по окружности и какие-то там завихрения в центре.
Для чего были сделаны вот такие приблуды, резко улучшающие качество ФИ:
Clarion X (AZX CD1 + AZX DP1)
Poweramper PA 60 => Alpine F1 Status Ring Radiator
Poweramper PA 100 => ODR TS-S1RS
PPI PC 2400.2 => Scan-Speak 18S_4531G-02
E.O.S. AE 500.1 => ODR TS-W1RS
Отправлено 07 September 2018 - 17:06
Тут СЧ больше , чем у меня басовик
И что с того..? -Диаметром больше а ход меньше... -Твитера бумажные не видел никогда? -Или за сч их принимал? ![]()
Ты мне скажи - ты правда так уверен, что никогда не женишься и не повзрослеешь??? -И не состаришься..? -Или каждый раз будешь новые АС перепиливать?
ты реально всегда жил, живешь и будешь жить одним днем??? ![]()
-Может правда времени вагон и лишних денег..?![]()
Сообщение отредактировал: neuwey - 07 September 2018 - 17:12
Отправлено 07 September 2018 - 17:07
-А мне до сих пор твой свисток сниться...
который я спалил? ![]()
"Существует две возможности: либо мы одиноки во вселенной, либо нет. Обе одинаково ужасны."
Артур Кларк
Отправлено 07 September 2018 - 17:08
И что с того..? -Диаметром больше а ход меньше... -Твитера бумажные не видел никогда? -Или за сч их принимал?
Масштаб, там такой масштаб, шо никакой сцены не надо. ![]()
Сообщение отредактировал: iskander80 - 07 September 2018 - 17:08
"Существует две возможности: либо мы одиноки во вселенной, либо нет. Обе одинаково ужасны."
Артур Кларк
Отправлено 07 September 2018 - 17:09
мы же про полки
Ты чего?
Мы про Напольники.
басовик, треха, 8", ты что , забыл?

Сообщение отредактировал: iskander80 - 07 September 2018 - 17:11
"Существует две возможности: либо мы одиноки во вселенной, либо нет. Обе одинаково ужасны."
Артур Кларк
Отправлено 07 September 2018 - 17:13
Масштаб, там такой масштаб, шо никакой сцены не надо.
Ну так если занесешь в свою конуру то плясать прям на них и будешь...
Отправлено 07 September 2018 - 17:16
И что с того..? -Диаметром больше а ход меньше... -Твитера бумажные не видел никогда? -Или за сч их принимал?
Ты мне скажи - ты правда так уверен, что никогда не женишься и не повзрослеешь??? -И не состаришься..? -Или каждый раз будешь новые АС перепиливать?
ты реально всегда жил, живешь и будешь жить одним днем???
-Может правда времени вагон и лишних денег..?
Ас пилю пока есть возможность, а то и правда женюсь и хана ![]()
Живу пока живется и загонять себе здоровье нет желания ради призрачных перспектив.
Времени точно вагон.
3 года санатория после 12 лет каторги - имею право.
Я жил уже не одним днем - все в унитаз ушло.
Теперь живу для себя любимого.
Квартира есть, машина есть, че мне еще надо?
Сообщение отредактировал: iskander80 - 07 September 2018 - 17:19
"Существует две возможности: либо мы одиноки во вселенной, либо нет. Обе одинаково ужасны."
Артур Кларк
Отправлено 07 September 2018 - 17:17
Ну так если занесешь в свою конуру то плясать прям на них и будешь...
Конура Валер у собаки, а у меня комната 30 м2 в Мск, вполне прижились бы там.
В этой 15 м2 конечно нет.
Но выглядит та квартира да, пока как конура ![]()
Сообщение отредактировал: iskander80 - 07 September 2018 - 17:21
"Существует две возможности: либо мы одиноки во вселенной, либо нет. Обе одинаково ужасны."
Артур Кларк
Отправлено 07 September 2018 - 17:22
Конура Валер у собаки, а у меня комната 30 м2 в Мск, вполне прижились бы там
Одна комната? -вечно пустая будет? -табуретка-то найдется? -Математика пригласишь?
-Или тебя сегодня будущий интерьер вашпе не парит..?
Всегда будешь хороводы водить вокруг АС? -Или колеса приделаешь вывозить на центр станешь? -Или потом опять новые запилишь? -Старые корпуса в гараж складываешь или камин топишь?
Сообщение отредактировал: neuwey - 07 September 2018 - 17:23
Отправлено 07 September 2018 - 17:32
Одна комната? -вечно пустая будет? -табуретка-то найдется? -Математика пригласишь?
-Или тебя сегодня будущий интерьер вашпе не парит..?
Всегда будешь хороводы водить вокруг АС? -Или колеса приделаешь вывозить на центр станешь? -Или потом опять новые запилишь? -Старые корпуса в гараж складываешь или камин топишь?
Нет Валер , закончу проект(2ка останется или трешка допилится) , докуплю лампы в мощник и в принципе конечная. Ну может ДАК заменю как будет на что, но вообще не горит. Меня все полностью устраивает.
То есть вообще не подгорает ничего менять.
Я вот четко понимаю "куда приводят мечты аудиофила"

Поэтому я четко отдаю себе отчет о границах своих игрушек.
Сообщение отредактировал: iskander80 - 07 September 2018 - 17:35
"Существует две возможности: либо мы одиноки во вселенной, либо нет. Обе одинаково ужасны."
Артур Кларк
Отправлено 07 September 2018 - 17:44
Так а зачем ты мне фоту жопы полок приложил и рассказывал про порт?Ты чего?
Мы про Напольники.
басовик, треха, 8", ты что , забыл?
Clarion X (AZX CD1 + AZX DP1)
Poweramper PA 60 => Alpine F1 Status Ring Radiator
Poweramper PA 100 => ODR TS-S1RS
PPI PC 2400.2 => Scan-Speak 18S_4531G-02
E.O.S. AE 500.1 => ODR TS-W1RS
Отправлено 07 September 2018 - 17:48
Да и хорошо, что забыл! Скорость воздуха в порту не должна быть выше определенной величины. Это главное!Я помню, что вроде там по площади сечения порта и диффузора динамика должно быть соотношение, не меньше половины площади диффузора? Подзабыл))
Clarion X (AZX CD1 + AZX DP1)
Poweramper PA 60 => Alpine F1 Status Ring Radiator
Poweramper PA 100 => ODR TS-S1RS
PPI PC 2400.2 => Scan-Speak 18S_4531G-02
E.O.S. AE 500.1 => ODR TS-W1RS
Отправлено 07 September 2018 - 17:49
Нет Валер , закончу проект(2ка останется или трешка допилится) , докуплю лампы в мощник и в принципе конечная. Ну может ДАК заменю как будет на что, но вообще не горит. Меня все полностью устраивает.
То есть вообще не подгорает ничего менять.
Я вот четко понимаю "куда приводят мечты аудиофила"
Поэтому я четко отдаю себе отчет о границах своих игрушек.
-не находишь сходства с ним..?
-Вы оба сначала АС в пустую комнату вносите, а потом вокруг интерьер воздвигаете...
Отправлено 07 September 2018 - 18:13
Ну ты хоть бы обозначил, что это Искандеру адресовано, или мой ник в цитате убрал. А то тебя хрен поймешь.-а мы в личке..?
Clarion X (AZX CD1 + AZX DP1)
Poweramper PA 60 => Alpine F1 Status Ring Radiator
Poweramper PA 100 => ODR TS-S1RS
PPI PC 2400.2 => Scan-Speak 18S_4531G-02
E.O.S. AE 500.1 => ODR TS-W1RS
Отправлено 07 September 2018 - 18:22
На картинке банальное продолжение трубы за пределами ящика - этот конус есть продолжение трубы.В смысле готовое?
Я макетку запилил, опыты провожу.
Готовый корпус на треху мож и не буду делать, по результату.
Я не помню, мож навеяло, но в ФИ поток идет по окружности и какие-то там завихрения в центре.
Для чего были сделаны вот такие приблуды, резко улучшающие качество ФИ:
Отправлено 07 September 2018 - 19:24
Я вот четко понимаю "куда приводят мечты аудиофила"
Поэтому я четко отдаю себе отчет о границах своих игрушек.
..как по мне -это больше на категорию "кошмары" тянет
0 пользователей, 0 гостей, 0 анонимных